淘宝客日赚上百心得分享:心态篇
我是个十足的菜鸟,今天分享下做淘宝客的心态,忘高手嘴下留情。
先看图。先看4月的最后10天,最后10天如果做淘客的人应该知道这几天不知道哪出了问题,佣金比平时缩水太多,少的可怜。
图1

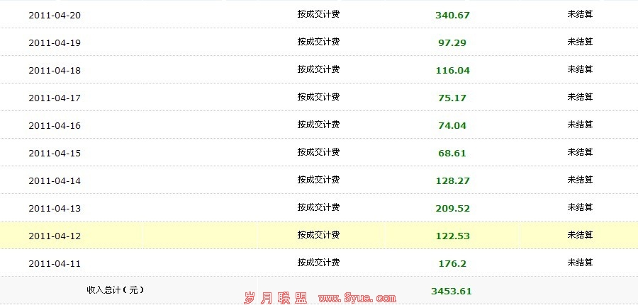
4月11日到20日的比较稳定,比较有代表性:
图2

OK,开始分享经验。实际方法很简单,主要是心态的分享。
1.坚持
做淘宝客一定要坚持,因为淘宝客的收入具有滞后性,按照顾客收货后才能显示收入,所有有时候你的网站流量很高,但是当天收入却不行,一般要往后推7-15天看收入。
2.简单
这是从王通那学到的,任何事情你一定要认为他很简单,当你认为他很简单他就很简单,如果你认为很难,那么久很难。我现在做什么事情,接触新事物就常常这样暗示自己。
3.定位
这是从夫唯那学的的,这个是逆向思维,先定位然后去找方法,比如做淘宝客,你要想别人如果想买这种产品会怎么样?会在百度**什么问题,会问什么问题,看到你给出排行榜的形式会不会反感。这样的话可以找到方法和提高成功率。
4.实验
淘宝客的方法摸索起来,一个新手从0开始,肯定要经过很多实验,做任何事情都是这样,分段实施,阶段见效。一种方法你可以先实验,如果可行就加大投入,无论是做竞价还是以后营销产品投放广告都是这个原理。
5.交流
我一个人摸索,现在觉得很累,而且收入稳定了一点都不高兴,因为这条路上我没有朋友,没有可以讨论各种流量方法的朋友,我觉得很不舒服。2个月前我开始决定改变,去努力认识一些人,通过交流认识很多高手,不过高手大多是不愿意把方法教给你的,不过即使这样我已经很高兴了,因为认识他们知道自己的眼界太窄,思路也开阔很多。最近半个月内一直有些事情,很多杂事,弄的我心情很烦躁。而且很长时间没有与人交流了,觉得快没了思路。突然想到我一直最抵触Q群,不如建个QQ群组织做淘宝客的朋友们一起交流。无论你是高手也好,是新手也好都欢迎。新手的话会遇到很多困难,希望我能帮助你们,毕竟自己在这条路上经历过很多失败。QQ群:13579497
也许有些朋友不愿意了,想到这一篇文章没有看到想要的方法,如果你纯粹是要方法的话,方法是可以延伸的,实际一招精通就可以,一种方法你把它做透彻就会成功。我的方法就很简单也非常普遍,就是通过seo。首先找竞争小的关键词,然后做站,复制,再找词,再做站。至于什么是SEO,近来我又有所认识,觉得就是伪原创的内容+外链,至于细节还有很多,欢迎大家与我交流。
实际我一直不想写文章出来,就是怕高手笑话,在我身边一天赚1000,3000甚至一万的都大有人在,我的一个月的收入只是他们1天或者半天的收入而且,写篇文章出来做科普我真的怕高手笑话,不过既然打算交朋友,我还是决定写出来,至少对新手是有帮助的,如果你觉得对你又帮助,可以去我的博客留言,我的博客地址:http://www.2161314.com/ 新建了一个QQ群,交流淘宝客等主流网赚思想,QQ群:13579497











