结构可调式换热器最小换热单元的确定
| 摘要 本文在结构可调式换热器的基础上,提出了其增量式结构形式;针对该种换热器在空调机组中的应用,根据空调室内温湿度控制精度要求,给出了换热器最小换热单元的约束条件;由房间动态负荷特性,提出了换热器最小换热单元确定方法及其结构设计方法。结构可调式换热器从结构上改善了现有空调机组的水力调节特性,克服了现有空调机组因连续型水量调节阀的快开特性而导致机组水量调节范围小等问题,特别适于模糊控制。 关键词 换热器 增量式控制 模糊控制 温湿度控制精度 最小换热单元 动态负荷 结构设计 | |
|
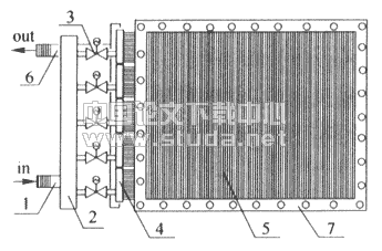
4.5 最小换热单元换热面积的确定 | |


(3)
(4)
(11)
(13)
(18)
(20)
(21)
(26)
(35)