静载试验的桩底加载法
摘要:随着高层建筑的兴建,静载试验所测承载力吨位也越来越大。然而试验的反力装置仍停留在堆载和锚桩传统方式。堆载和锚桩法费时费力,成本高。现在的高层建筑,一般都有地下室,其桩的有效长度应从最底层地下室的底板算起,受施工时间条件所限传统的静载方法无法测得其有效桩长的实际承载力。近年来尽管有各种动测方法,也需大量的动静资料对比才能提高其精度。
关键词:静载试验 桩底加载法
0 前言
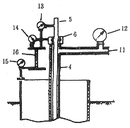
随着高层建筑的兴建,静载试验所测承载力吨位也越来越大。然而试验的反力装置仍停留在堆载和锚桩传统方式。堆载和锚桩法费时费力,成本高。现在的高层建筑,一般都有地下室,其桩的有效长度应从最底层地下室的底板算起,受时间条件所限传统的静载方法无法测得其有效桩长的实际承载力。近年来尽管有各种动测方法,也需大量的动静资料对比才能提高其精度。 美国西北大学Jorj Osterberg教授研究成功的、近年来在美国广泛应用的一种静载荷试桩新技术——桩底加载法。它最大特点是桩底加载,并能直接测得桩侧阻力和桩端阻力,且试验装置简单,不需锚桩及反力架,不占用施工场地,费用低(可比传统方法节约25%~75%)。近几年,美国已在全国各地做了数百例这种桩底加载法试验。最大吨位已达30MN。 桩底加载法的装置主要由一个特制的液压千斤顶式荷载箱。荷载箱可根据不同的试验桩型对其进行特别设计和制作。打入桩将荷载箱随桩打入桩底,灌注桩则将其与钢筋笼焊接后沉入桩孔。因此,荷载箱属于一次性投入器件。 图 1 钢管打入桩的试验装置 1—荷载箱活塞 2—荷载箱顶盖 3—荷载箱箱壁 4—输压竖管 5—芯棒 图 2 钢管桩顶部装置 5—芯棒 6—密封圈 11—输压横管 12—压力表; 13、14、15—千分表 16—基准梁 图 3 荷载箱被推开 荷载箱主要由活塞(1)、顶盖(2)、箱壁(3)等三部分组成,并有输压管(4)、芯棒(5)(见图1~图3)伸出桩顶。安置在桩顶的千分表用于观察活塞向下的位移及顶盖向上的位移。试验时,输压管对桩底荷载箱内腔进行加压,活塞的顶盖被慢慢推开,此时向下的桩侧阻力和向上的桩端阻力发挥作用,互为反力,直至两者之一发生破坏。测得的荷载与位移关系可同时画出“桩侧阻力与位移关系图”和“桩端阻力与位移关系图”(由于桩身自重在桩底加载法中与桩侧阻力方向一致,故桩侧阻力时,应予以扣除)。 桩底加载法是根据所测的向下桩侧阻力与向上桩端阻力迭加而确定单桩承载力的。试验时,荷载箱内腔向上的压力必等于向下的压力,与传统试桩法相比,它所得破坏荷载(包括桩身自重)至少是桩底加载法所测得破坏荷载的2倍。因此若以桩底加载法产生的破坏荷载作为桩的工作荷载,则桩至少具有大于2的抗压安全系数。 值得指出的是,当桩端阻力不足以抗衡桩侧阻力时,应在桩顶增设荷重或设置地锚以弥补桩侧阻力之不足。另一种方法是借助扩大桩端受力面积。 美国新泽西州爱迪生市Menlo公园购物中心基桩地质剖面见图4(a)。覆盖层厚5m,其下为棕红色中至强风化页岩,有裂隙。试桩目的是测定该岩层的桩端阻力和嵌岩段的桩侧阻力或嵌固力。 图 4 Menlo购物中心试桩剖面与试验成果 (a)试桩剖面 (b)荷载—位移曲线 桩的施工,先在覆盖层钻进?φ1.22m孔,深约5m,至岩层;在孔内放护筒,向岩层钻进?φ910mm孔,深2m,清底后放入荷载箱;在箱顶灌混凝土1.8m;又在覆盖层的护筒内放入?φ1.06m波纹管。波纹管与护筒完全脱开。波纹管内灌混凝土。 试桩曲线见图4(b)。当桩身嵌岩段混凝土与页岩之间的嵌固力破坏时,向上的荷载为2 100kN,桩端破坏荷载为2 400kN,故该桩的总承载力为4 500kN。计算中对荷载箱上的混凝土自重160kN已作了修正。 曾用桩底加载法与传统的桩顶加载法在同一根试桩上作了对比试验。 试桩的地质资料及桩位置见图5a,桩底加载法测得的荷载位移图见图5b 两种方法的比较结果见图6a、6b。仅需说明,在图6a桩顶荷载——桩顶位移曲线中,黑点是采用传统的桩顶加载法直接测得的结果,而细曲线则是采用桩底加载法将桩侧阻力与桩端阻力相应的位移——迭加而得结果。在图6b桩端荷载——桩端位移曲线中,实心黑点及其所连成的虚线曲线是采用传统的桩顶加载法,根据桩身实测应变推算而得的结果,空心圆圈及其所连成的曲线是用桩底加载法直接测得的结果,可见两种测试结果非常接近。 图 5 试桩地质资料及桩位置图 a.地质剖面 b.荷载位移曲线 图 6 桩底加载与传统静载试桩法对比试验结果 (a)桩顶荷载--桩顶位移曲线 (b)桩端荷载--桩端位移曲线 将侧阻与端阻迭加而得 根据桩身实测应变推算而得 采用桩底加载法进行试桩,可缩短工期,节省大量人力、物力。试验可采用快速法,也可采用慢速维持荷载法。特别适合在水上试桩、坡地试桩、基坑底试桩、狭窄场地试桩。在打入情况,也可利用一根桩打至不同深度,逐一进行试验,从而选择桩的最佳长度。目前较多是用于测定嵌岩桩的嵌固力,这是传统方法难以做到的。桩底加载法如能及早采用,实为我国建筑业中的一项飞跃。1 桩底加载法的试验装置与工作机理



2 桩底加载试验实例及成果

3 桩底加载法与桩顶加载法成果对比


4 结论











